| توافر الحالة: | |
|---|---|
| الكمية: | |
GD-6532
GOLD
اختبار محتوى ملح الزيوت الخام
GD-6532 تم تصميم محتوى محتوى ملح النفط الخام وتصنيعه وفقًا لمتطلبات جمهورية الصين الشعبية المعيارية GB/T6532 "الزيت الخام ومنتجاته طريقة تحديد محتوى الملح ". إنه مناسب لتحديد إجمالي الهاليد مع تركيز 0.002 ~ 0.02 ٪ (الوزن) في الزيت الخام ، والزيت الخام المغطى ، والبقايا المتشققة والوقود. يمكن أيضًا استخدامه لتحديد حالة زيت التوربينات البخارية المستخدمة وزيت الوقود البحري الملوث بمياه البحر. عندما لا تكون الدقة المطلوبة أكبر من النطاق المحدد في هذه الطريقة ، يمكن أيضًا استخدامها للمنتجات الأخرى.
الهيكل الرئيسي:
⑴ مستخرج: يتكون من القارورة وجزء التدفئة ، ويبلغ حجم القارورة 500 مل ؛ يتكون جزء التدفئة من جرح سلك التدفئة الكهربائي في الطرف السفلي.
⑵ قمع إسقاط أسطواني: يتم استخدامه لإضافة التولوين الساخنة والإيثانول المطلق والأسيتون وغيرها من الكواشف وجعل فصل السائل الكمي.
⑶ المكثف: تكثف الغاز المقطر.
knob التعديل في درجة الحرارة: يستخدم لتسخين محلول الاختبار الذي يجب تسخينه.
piston piston مسار قمع: مكبس التحكم في المستخرج لتفريغ الحل.
⑹ Erlenmeyer Flask: قارورة Erlenmeyer الفمية ، تستخدم لتلقي الحل الذي يتم تفريغه من القارورة.
⑺ قابس الطيران: قابس طاقة سلك التسخين المستخرج
رئيسي Tصدى PArameters:
1. مستخرج: الامتثال للمواصفات والأبعاد للأواني الزجاجية في معيار GB/T6532.
2. قوة التدفئة للمستخرج: 300W × 2
3. مزود الطاقة: AC (220 فولت ± 10V) ، 50 هرتز
ملاحظات: يحتاج العميل إلى تحضير التحريك المغناطيسي ومعايير الجهد.
الهيكلية Fيأكل:
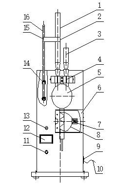
تتكون الأداة بشكل أساسي من قارورة المستخرج ، وفلفان التدفئة ، وغطاء واقٍ ، ومكثف ، وقمع الانفصال الأسطواني (قمع القطع) ، وجهاز التثبيت ، لوحة التحكم في درجة الحرارة القابلة للتعديل ، الشاشة الرقمية ، الدعم القطب ، القطب ، السلك العلوي الأولي ، المشبك العالمي ، قارورة Erlenmeyer ، الخ. يظهر الهيكل على اليسار:
1. المكثف 9. مفتاح الطاقة
2. مقطع عالمي 10. سلك الطاقة
3. إسقاط القمع 11. مقبض ضبط الجهد
4. جهاز التثبيت 12. مقياس الفولتميتر الرقمي
5. قارورة المستخرج 13. مؤشر الطاقة
6. غطاء واقية 14. القطب
7. قابس الطيران 15. سلك أعلى مزدوج
8. لفائف التدفئة 16. القطب
صور تفصيلية:
اختبار محتوى ملح الزيوت الخام
GD-6532 تم تصميم محتوى محتوى ملح النفط الخام وتصنيعه وفقًا لمتطلبات جمهورية الصين الشعبية المعيارية GB/T6532 "الزيت الخام ومنتجاته طريقة تحديد محتوى الملح ". إنه مناسب لتحديد إجمالي الهاليد مع تركيز 0.002 ~ 0.02 ٪ (الوزن) في الزيت الخام ، والزيت الخام المغطى ، والبقايا المتشققة والوقود. يمكن أيضًا استخدامه لتحديد حالة زيت التوربينات البخارية المستخدمة وزيت الوقود البحري الملوث بمياه البحر. عندما لا تكون الدقة المطلوبة أكبر من النطاق المحدد في هذه الطريقة ، يمكن أيضًا استخدامها للمنتجات الأخرى.
الهيكل الرئيسي:
⑴ مستخرج: يتكون من القارورة وجزء التدفئة ، ويبلغ حجم القارورة 500 مل ؛ يتكون جزء التدفئة من جرح سلك التدفئة الكهربائي في الطرف السفلي.
⑵ قمع إسقاط أسطواني: يتم استخدامه لإضافة التولوين الساخنة والإيثانول المطلق والأسيتون وغيرها من الكواشف وجعل فصل السائل الكمي.
⑶ المكثف: تكثف الغاز المقطر.
knob التعديل في درجة الحرارة: يستخدم لتسخين محلول الاختبار الذي يجب تسخينه.
piston piston مسار قمع: مكبس التحكم في المستخرج لتفريغ الحل.
⑹ Erlenmeyer Flask: قارورة Erlenmeyer الفمية ، تستخدم لتلقي الحل الذي يتم تفريغه من القارورة.
⑺ قابس الطيران: قابس طاقة سلك التسخين المستخرج
رئيسي Tصدى PArameters:
1. مستخرج: الامتثال للمواصفات والأبعاد للأواني الزجاجية في معيار GB/T6532.
2. قوة التدفئة للمستخرج: 300W × 2
3. مزود الطاقة: AC (220 فولت ± 10V) ، 50 هرتز
ملاحظات: يحتاج العميل إلى تحضير التحريك المغناطيسي ومعايير الجهد.
الهيكلية Fيأكل:
تتكون الأداة بشكل أساسي من قارورة المستخرج ، وفلفان التدفئة ، وغطاء واقٍ ، ومكثف ، وقمع الانفصال الأسطواني (قمع القطع) ، وجهاز التثبيت ، لوحة التحكم في درجة الحرارة القابلة للتعديل ، الشاشة الرقمية ، الدعم القطب ، القطب ، السلك العلوي الأولي ، المشبك العالمي ، قارورة Erlenmeyer ، الخ. يظهر الهيكل على اليسار:
1. المكثف 9. مفتاح الطاقة
2. مقطع عالمي 10. سلك الطاقة
3. إسقاط القمع 11. مقبض ضبط الجهد
4. جهاز التثبيت 12. مقياس الفولتميتر الرقمي
5. قارورة المستخرج 13. مؤشر الطاقة
6. غطاء واقية 14. القطب
7. قابس الطيران 15. سلك أعلى مزدوج
8. لفائف التدفئة 16. القطب
صور تفصيلية: